装配式政策|关于印发《乌鲁木齐市智能建造试点城市实施方案》的通知
乌鲁木齐市人民政府办公室 关于印发乌鲁木齐市智能建造试点城市实施方案的通知 乌鲁木齐县、各区人民政府,乌鲁木齐经济技术开发区、高新技术产业开发区、甘泉堡经济技术开发区(工业区)管委会,市属各委、办、局: 《乌鲁木齐市智能建造试点城市实施方案...
乌鲁木齐市人民政府办公室 关于印发乌鲁木齐市智能建造试点城市实施方案的通知 乌鲁木齐县、各区人民政府,乌鲁木齐经济技术开发区、高新技术产业开发区、甘泉堡经济技术开发区(工业区)管委会,市属各委、办、局: 《乌鲁木齐市智能建造试点城市实施方案...

深圳市福田区住房和建设局 关于建设工程建筑节能、绿色建筑和装配式建筑执行情况月度通报 各建设、设计、施工、监理单位: 为贯彻落实“3060”碳达峰、碳中和各项工作要求,稳步推进福田区“零碳示范区”建设,确保我区房屋建筑工程严格落实建筑节能、...

各县(区)住建局、发改委、自然资源和规划局,开发区建设城管局、经发局,武功山社会发展建设局、经发局: 为规范我市装配式建筑建设工作流程和机制,2021年5月市住建局联合市发改委、市自然资源和规划局制定了《萍乡市推进装配式建筑实施细则(试行)...
青岛市住房和城乡建设局 关于认定第四批青岛市装配式建筑产业基地的通知 各有关单位: 为推进装配式建筑产业基地建设,促进我市装配式建筑产业发展,根据《山东省装配式建筑产业基地管理办法》(鲁建节科字〔2017〕29号)、《关于申报青岛市装配式建...

南京市建筑工程质量安全监督站 关于发布装配式建筑工程部品部件生产技术能力登记情况的通告 截至2023年6月12日 各有关单位: 根据《关于印发[南京市装配式建筑工程质量安全管理办法(试行)]的通知》(宁建规字〔2017〕2号)要求,现将装配...

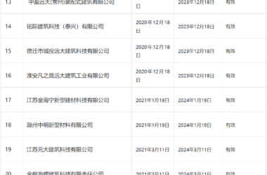
关于江西省装配式建筑示范工程案例(第一批)的公示 根据《关于加快推进江西省装配式建筑发展的若干意见》(赣建字〔2020〕11号)和《关于组织申报装配式建筑示范工程案例的通知》(赣建建 〔2023〕1号)要求,经企业申报、各设区市主管部门推荐...

关于公布福建省第十二批装配式混凝土部品部件生产企业名单的通知 闽建办筑函〔2023〕23号 各设区市建设局、平潭综合实验区交建局: 根据省政府办公厅《关于大力发展装配式建筑的实施意见》(闽政办〔2017〕59号)的要求,各地积极投资建设满足...
关于全省智慧工地建设推进情况的通报(第二期) 各市、州、直管市、神农架林区住(城)建局: 为进一步压实工作责任,加快推进落实智慧工地建设阶段目标任务,现将有关情况通报如下: 一、智慧工地推进情况 (一)总体推进加速。自5月19日,省厅下发智...

关于印发《关于加快推进福建省智能建造发展的工作方案》的通知 闽建筑〔2023〕13号 各设区市建设局,平潭综合实验区交建局: 为贯彻落实住房城乡建设部等部门《关于推动智能建造与建筑工业化协同发展的指导意见》《关于加快新型建筑工业化发展的若干...
各设区市建设局、平潭综合实验区交建局,各有关单位: 为贯彻落实《福建省绿色建筑发展条例》和城乡建设领域碳达峰行动要求,进一步规范我省绿色建筑设计与审查工作,提升绿色建筑工程质量,省厅组织编制了《福建省绿色建筑设计与审查实施细则(征求意见...
由京津冀三地协同编制的《绿色建筑设计标准》(编号为DB13(J) 8526-2023)已经本机关审查并批准为河北省工程建设地方标准,现予发布,自2023年7月1日起实施。其中,第4.4.7、7.4.1条为强制性条文,必须严格执行。原《绿色建...
《被动式超低能耗建筑节能构造(十二)》(双卡槽限位点连式现浇混凝土内置保温系统)(统一编号:DBJT02-230-2023,图集号:J23J277)已经本机关审查并批准为河北省工程建设标准设计,现予发布,自2023年9月1日起实施。 河北省...
晋建科字〔2023〕109号 各市住房城乡建设局,省综改区建设管理部,各有关企业: 根据《关于进一步推进建筑信息模型(BIM)技术应用的通知》(晋建科字〔2020〕91号)和《关于提升建筑信息模型(BIM)技术应用水平的通知》(晋建科字〔2...
关于开展智能建造与建筑工业化示范产业基地、示范项目遴选培育工作的通知 陕建发〔2023〕1076 号 各设区市住房和城乡建设局,杨凌示范区住房和城乡建设局,韩城市住房和城乡建设局: 为贯彻省委十四届三次全会、省委经济工作会议和省“两会”、开...

临沂市人民政府 关于印发临沂市建筑产业高质量发展三年规划(2023-2025年)的通知 临政字〔2023〕47号 各县区人民政府(管委会),市政府各部门(单位): 《临沂市建筑产业高质量发展三年规划(2023-2025年)》已经市政府第29...
关于切实加快宿州市绿色建筑发展若干意见的通知 宿建〔2023〕 75 号 为深入贯彻落实《安徽省绿色建筑发展条例》、安徽省人民政府《关于促进装配式建筑产业发展的意见》(皖政〔2020〕21号)和《安徽省人民政府办公厅关于印发安徽省建筑节能降...

为加大智能建造技术在工程建设各环节应用,实现数字技术与实体经济深度融合,推动建筑业工业化、信息化、绿色化、产业化转型升级,日前,哈市正式印发《哈尔滨市智能建造试点城市工作方案》。根据《工作方案》,哈市将从完善政策体系、建设试点示范工程、培育...
各省、自治区住房和城乡建设厅,直辖市住房和城乡建设(管)委,北京城市管理委,新疆生产建设兵团住房和城乡建设局: 为深入贯彻落实党的二十大精神和党中央、国务院决策部署,因地制宜推进城市地下综合管廊建设,推动城市高质量发展,我部组织修订了《城市...

关于印发《武汉市2023年智能建造试点城市推进工作要点》的通知 武汉市智能建造试点城市建设领导小组各成员单位、各有关单位: 为进一步贯彻落实国家、省、市推进智能建造试点城市建设的工作要求,推动建筑业高质量发展,现将《武汉市2023年智能建造...

长沙市住房和城乡建设局 长沙市财政局 关于印发《长沙市省级绿色建造试点城市补助资金管理制度》的通知 长住建发〔2023〕48号 各相关单位: 现将《长沙市省级绿色建造试点城市补助资金管理制度》印发给你们,请遵照执行。 长沙市住房和城乡建设局...