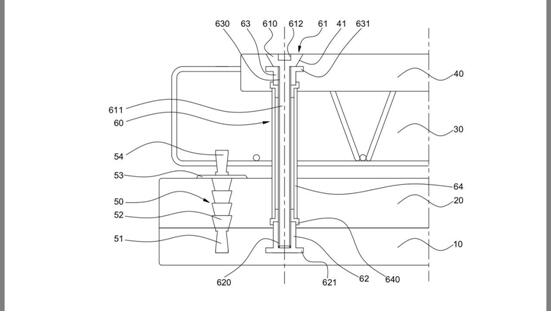
10——6cm外页墙;20——8cm保温层;
30——双皮墙现浇层:40——6cm内墙叠合板;
50——外页墙FRP连接件(配件);60——对拉螺栓(配件)
应用双皮墙三明治外墙直接增加的成本
6cm外页墙¥2750/m³,8cm保温层(含配件)¥2250/m³,6cm内墙叠合板加工费¥1950/m³,以上价格包括运费和¥250/m³安装费,而且也包含沈阳构件厂认为比较合理的利润。
6cm内墙叠合板加工费相当于传统现浇的铝模板,¥117/㎡的价格比传统铝模贵¥67/㎡,但内墙叠合板比外页墙面积小,经测算其大约是外页墙面积的65%,这样其造成的成本增加按外页墙面积算应该是¥44/㎡。
双皮墙三明治外墙剪力墙部分会增加5%以内的钢筋用量,这样双皮墙三明治外墙还要增加¥9/㎡。
外页墙¥165/㎡,保温层¥180/㎡,再加上内墙叠合板增加的成本¥44/㎡和¥9/㎡钢筋,总计成本增加¥398/㎡。
装配式住宅
然后我们再算应用双皮墙三明治外墙减少的成本
外墙外侧模板¥50/㎡;外脚手架¥40/㎡,按外围护结构75%墙体面积计算,折合¥53/㎡,总计成本减少¥103/㎡。
最终使用三明治外墙系统,将导致外墙系统成本增加¥295/㎡,但使用双皮墙三明治外墙相当于外墙保温做完了,而且不需要使用半小时耐火窗。
半小时耐火窗成本增加¥300/㎡,按外围护结构75%墙体面积计算,折合墙体面积增加¥100/㎡,也就是说如果不使用半小时耐火窗,将导致外墙每平方米成本降低¥100/㎡。
295-100=¥195/㎡,这个价格与传统的EPS薄抹灰&防火隔离带之间的差价就是双皮墙三明治外墙最终增加的成本,现在这种薄抹灰系统的市场最低价为¥85/㎡,也就是说使用双皮墙三明治外墙仅仅比传统现浇加薄抹灰外墙外保温系统成本高了¥110/㎡,折合建筑面积只高了¥55/㎡。考虑到双皮墙三明治外墙使用寿命是薄抹灰外墙外保温系统的两倍以上,两者现在就是持平的。

BIM建筑网


